Каталог запасных частей к технике: РСМ Дон 1200Б. Капот радиатора
1
1
2
3
4
5
5
6
6
7
7
8
8
9
10
11
11
12
12
13
14
15
16
17
17
18
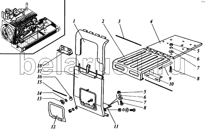
| Позиция на иллюстрации | Заводской номер детали | Название детали | |
|---|---|---|---|
| 1 | РСМ-10Б.06.13.010 | Щиток передний или РСМ-10.05.13.010 | |
| 1 | РСМ-10.05.13.010 | Щиток передний или РСМ-10Б.06.13.010 | |
| 2 | РСМ-10.05.13.030А | Щиток верхний | |
| 3 | РСМ-10.05.13.602 | Ось | |
| 4 | РСМ-10.05.13.040В | Щиток | |
| 5 | М8-6Н.6.019 | Гайка | |
| 6 | 8Т.65Г.019 | Шайба | |
| 7 | С8х1,4.01.019 | Шайба | |
| 8 | М8х20 | Болт | |
| 9 | РСМ-10.05.13.429В | Уголок | |
| 10 | РСМ-10.05.13.418А | Кронштейн | |
| 11 | РСМ-10.05.13.110 | Кронштейн или РСМ-10Б.06.13.050 | |
| 11 | РСМ-10Б.06.13.050 | Кронштейн или РСМ-10.05.13.110 | |
| 12 | РСМ-10Б.06.13.406 | Крышка или РСМ-10.05.13.070 | |
| 12 | РСМ-10.05.13.070 | Крышка или РСМ-10Б.06.13.406 | |
| 13 | 54-2-157 | Гайка специальная | |
| 14 | 6Т.65Г.019 | Шайба | |
| 15 | РСМ-10.05.13.601 | Ось | |
| 16 | 41119А | Шайба эксцентричная | |
| 17 | РСМ-10Б.06.13.030 | Панель или РСМ-10.05.13.060Б | |
| 17 | РСМ-10.05.13.060Б | Панель или РСМ-10Б.06.13.030 | |
| 18 | РСМ-10.05.13.100 | Кронштейн |
Содержащиеся в справочниках-каталогах запасные части и детали не предлагаются к продаже, а носят исключительно информационный характер