Аркадак
Эль-Монте ваш город?
Да
Выбрать другой город
Написать в
WhatsApp
Написать в
Telegram
Каталог

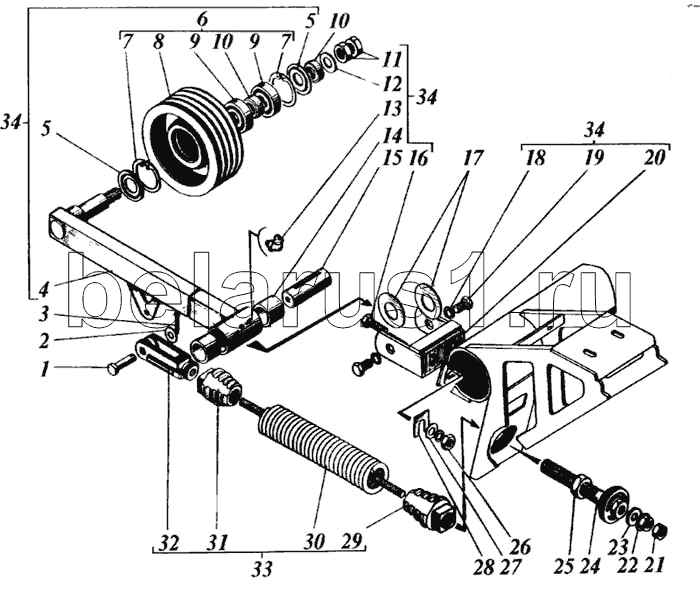
Каталог запасных частей к технике: РСМ Дон 1500А. Натяжное устройство

zoom-in zoom-out enlarge shrink circle-right circle-left file-text2 info cart
1
2
3
4
5
5
6
7
7
8
9
9
9
10
10
11
12
13
14
15
16
17
18
19
20
21
22
23
24
25
26
27
28
29
30
31
32
33
34
34
34
Позиция на иллюстрации Заводской номер детали Название детали
1 6-10в12х36.35.Ц9хр Ось
2 С10.01.019 Шайба
3 3,2х18.019 Шплинт
4 РСМ-10.05.00.240В Рычаг
5 РСМ-10.05.00.499 Шайба защитная
6 РСМ-10.05.00.300Б Шкив
7 С62 Кольцо ГОСТ 13943-86
8 РСМ-10.05.00.112В Шкив специальный
9 180206К10С27 Подшипник
9 2В0-180206АС17 Подшипник или 180206К10С27
10 РСМ-10.05.00.023В Кольцо
11 М20-6Н.04.35.019 Гайка
12 С20х3,9.01.019 Шайба
13 2,3.90.Ц6хр Масленка
14 РСМ-10.05.00.027В Втулка
15 РСМ-10Б.05.00.602 Ось
16 М12-6gх35.88.35.019 Болт
17 С30х2.01.019 Шайба
18 12Т.65Г.019 Шайба
19 М12х20.88.35.019 Болт
20 РСМ-10Б.05.00.160 Рамка
21 М14-6Н.6.019 Гайка
22 РСМ-10.05.00.780А Гайка
23 РСМ-10.05.00.033А Амортизатор
24 РСМ-10.05.00.730А Втулка натяжная
25 М24-6Н.6.019 Гайка
26 М12-6Н.6.019 Гайка
27 С12х2.01.019 Шайба
28 РСМ-10.05.09.508 Прокладка
29 РСМ-10.05.00.108А-01 Пробка
30 РСМ-100.01.00.632Б Пружина
31 РСМ-10.05.00.108А Пробка
32 РСМ-10.05.00.303 Вилка
33 РСМ-10.05.00.610Г Пружина
34 РСМ-10Б.05.00.130 Натяжник
Содержащиеся в справочниках-каталогах запасные части и детали не предлагаются к продаже, а носят исключительно информационный характер