Каталог запасных частей к технике: РСМ Дон 1500Б. Топливный насос

1
2
3
4
5
6
7
8
9
10
11
12
13
14
15
16
17
18
19
20
20
20
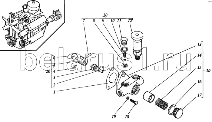
Позиция на иллюстрации | Заводской номер детали | Название детали | |
---|---|---|---|
1 | 240-1106285 | Прокладка | |
2 | 236-1106256 | Кольцо стопорное | |
3 | 236-1106222 | Шток с втулкой | |
4 | 236-1106246 | Сухарь | |
5 | 236-1106240 | Толкатель | |
6 | 236-1106242 | Ролик толкателя | |
7 | 236-1106244 | Ось ролика | |
8 | 236-1106264 | Клапан | |
9 | 236-1106272 | Пружина клапана | |
10 | 312367-П | Шайба | |
11 | 236-1106276 | Пробка | |
12 | 236-1106288-030 | Насос топливоподкачивающий | |
13 | 236-1106212-А2 | Корпус насоса | |
14 | 236-1106228 | Поршень | |
15 | 236-1106232 | Пружина поршня | |
16 | 33.1112342 | Кольцо уплотнительное | |
17 | 236-1106234 | Пробка | |
18 | 201420-П29 | Болт | |
19 | 252134-П29 | Шайба | |
20 | 240-1106210 | Насос топливоподкачивающий |
Содержащиеся в справочниках-каталогах запасные части и детали не предлагаются к продаже, а носят исключительно информационный характер