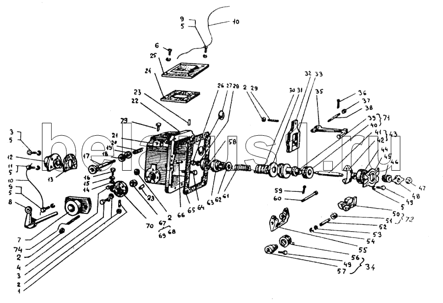
Каталог запасных частей к технике: ВгТЗ ДТ-75МВ. Регулятор топливного насоса
| Позиция на иллюстрации | Заводской номер детали | Название детали | |
|---|---|---|---|
| 17-030Р | 17-030Р | Валик обогатителя с призмой | |
| 41-А1709-1А | 41-А1709-1А | Валик регулятора в сборе | |
| 17-С5Д | 17-С5Д | Вилка тяги в сборе | |
| 17.02.2001 | 17.02.2001 | Корпус в сборе | |
| 41-А1701 | 41-А1701 | Регулятор РВ880 в сборе | |
| 1 | 17-023 | Шпилька-ограничитель выключения подачи | |
| 2 | М6.6Н.8.35.013 | Гайка ГОСТ 5915-70 | |
| 3 | М6-6gх16.88.35.013 | Болт ГОСТ 7798-70 | |
| 4 | М6-6gх12 | Винт ГОСТ 17475-74 | |
| 5 | 6.65Г.05 | Шайба ГОСТ 6402-70 | |
| 6 | М6-6gх14.88.35.013 | Болт ГОСТ 7798-70 | |
| 7 | 17-027-2 | Крышка упора | |
| 8 | 17-018-4А | Рычаг | |
| 9 | 3М6-6gх14.88.35.013 | Болт ГОСТ 7798-70 | |
| 10 | 0.8х500 | Проволока ГОСТ 3282 -74 | |
| 11 | М6-6gх16.88.35.013 | Болт ГОСТ 7798-70 | |
| 12 | 17-056В | Крышка задняя | |
| 13 | 17-055 | Прокладка | |
| 14 | 45 7141 2354 | Прокладка регулировочная | |
| 15 | 17-021-1 | Прокладка регулировочная | |
| 16 | 17-022-1 | Болт регулировочный | |
| 17 | 17-014-2 | Втулка пружины | |
| 18 | 17-004 | Сальник валика обогатителя | |
| 19 | 17-061 | Шайба сальника валика обогатителя | |
| 20 | 17-062 | Пружина валика обогатителя | |
| 21 | 01-1763 | Призма | |
| 22 | 17-001-1 | Корпус регулятора | |
| 23 | 17-069А | Штифт | |
| 24 | 17-067 | Прокладка | |
| 25 | 17-068-3 | Крышка корпуса регулятора верхняя | |
| 26 | М8.6Н.8.35.013 | Гайка ГОСТ 2524-70 | |
| 27 | 16.05 | Заглушка ГОСТ 311 1-67 | |
| 28 | 17-054 | Шайба замковая | |
| 29 | 17-013А | Болт вилки | |
| 30 | 17-049А | Пружина регулятора наружная | |
| 31 | 17-047А | Прокладка регулировочная | |
| 31 | 17-047-1 | Прокладка регулировочная | |
| 32 | 17-009-1 | Вилка тяги | |
| 33 | 17-010А | Штырь вилки | |
| 34 | 17С6-1Б | Втулка пружины в сборе | |
| 35 | 17-С13-1Б | Тяга регулятора в сборе | |
| 36 | 2х12 | Шплинт | |
| 37 | 17-080 | Шайба пальца | |
| 38 | 17-075-1А | Ось вилки короткая | |
| 39 | 17-08-2А | Муфта с втулкой в сборе | |
| 40 | №8202 | Подшипник ГОСТ 6874-75 | |
| 41 | 17-032-4 | Валик | |
| 42 | 17-033-4 | Крестовина грузов | |
| 43 | 17.03.2004 | Валик с крестовиной в сборе | |
| 44 | N°46203К | Подшипник ГОСТ 831-75 | |
| 45 | 17-036Г | Гнездо шарикоподшипника | |
| 46 | 17-037-1А | Шестерня валика регулятора | |
| 47 | 17-039-1 | Гайка валика регулятора | |
| 48 | 17-038Б | Шайба валика регулятора | |
| 49 | М6-6gх20.88.35.013 | Болт ГОСТ 7798-70 | |
| 50 | 17-042-2А | Груз регулятора | |
| 51 | 17-043-2А | Втулка груза | |
| 52 | 17-045-3 | Ось груза регулятора | |
| 53 | 17-044А | Шайба оси груза | |
| 54 | 17-099 | Кольцо стопорное | |
| 55 | 17-011-1 | Кронштейн вилки тяги регулятора | |
| 56 | 17-016Б | Пружина кронштейна | |
| 57 | 17-014-2А | Втулка пружины | |
| 58 | №200 | Подшипник ГОСТ 8338-75 | |
| 59 | 80.17.119 | Штифт | |
| 60 | 17-012-2 | Ось кронштейна | |
| 61 | 17-048-1А | Пружина регулятора внутренняя | |
| 62 | 17-050А | Прокладка регулировочная | |
| 62 | 17-050 | Прокладка регулировочная | |
| 63 | 17-052-2А | Седло пружины | |
| 64 | 17-074А | Упор жесткий | |
| 65 | 17-057 | Прокладка | |
| 66 | 17-002 | Штифт установочный | |
| 67 | 45 7141 3238 | Сальник в сборе | |
| 68 | 17-007 | Обойма сальника | |
| 69 | 17-008 | Кольцо сальника | |
| 70 | 17-020-2 | Шайба упора | |
| 71 | 17-08Р | Муфта с подшипником в сборе | |
| 72 | 17-011-2А | Груз регулятора в сборе | |
| 73 | М8-6gх16.88.35.013 | Болт ГОСТ 7796-70 | |
| 74 | 17-092 | Шпилька |
Содержащиеся в справочниках-каталогах запасные части и детали не предлагаются к продаже, а носят исключительно информационный характер