Каталог запасных частей к технике: ВгТЗ ДТ-75Н. Оборудование кабины. Обогрев кабины

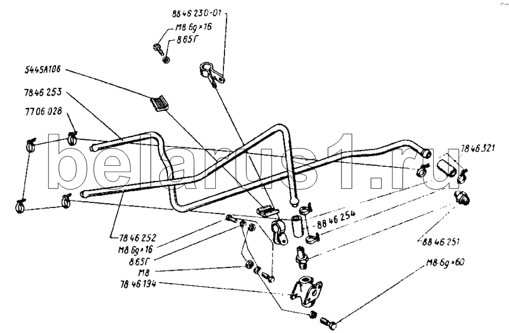
М8.6gх16
М8.6gх16
78.46.321
88.46.254
8.65Г
8.65Г
77.06.028
78.46.194
78.46.253
78.46.252
88.46.230-01
54.15А.106
М8
М8.6gх60
88.46.251
Позиция на иллюстрации | Заводской номер детали | Название детали | |
---|---|---|---|
М8.6gх16 | М8.6gх16 | Болт | |
78.46.321 | 78.46.321 | Шланг | |
88.46.254 | 88.46.254 | Шланг | |
8.65Г | 8.65Г | Шайба ГОСТ 6402-70 | |
77.06.028 | 77.06.028 | Хомутик стяжной | |
78.46.194 | 78.46.194 | Фланец | |
78.46.253 | 78.46.253 | Труба | |
78.46.252 | 78.46.252 | Труба | |
88.46.230-01 | 88.46.230-01 | Скоба | |
78.46.025 | 78.46.025 | Система обогрева | |
54.15А.106 | 54.15А.106 | Прокладка | |
М8 | М8 | Гайка | |
В1М5.6gх14 | В1М5.6gх14 | Винт | |
М8.6gх60 | М8.6gх60 | Болт | |
88.46.251 | 88.46.251 | Штуцер |
Содержащиеся в справочниках-каталогах запасные части и детали не предлагаются к продаже, а носят исключительно информационный характер