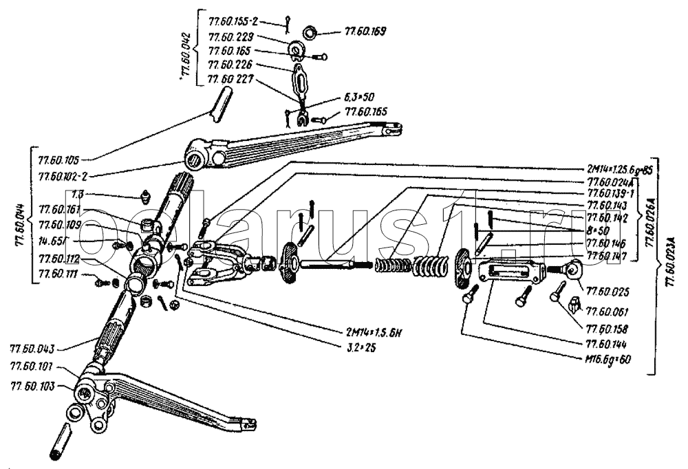
Каталог запасных частей к технике: ВгТЗ ДТ-75Н. Устройство навесное заднее. Подъемник и стяжка

М14х1,25.6gх85
77.60.229
77.60.042
77.60.109
77.60.023А
77.60.061
14.65Г
77.60.147
3.2х25
8х50
6.3х50
77.60.158
77.60.165
77.60.165
77.60.169
М16.6gх60
77.60.161
77.60.227
77.60.102-2
77.60.101
77.60.103
77.60.043
77.60.024А
77.60.026А
77.60.111
77.60.139-1
2М14х1,5.6Н
77.60.025
77.60.112
1.3
77.60.144
77.60.105
77.60.146
77.60.044
77.60.142
77.60.143
77.60.226
Позиция на иллюстрации | Заводской номер детали | Название детали | |
---|---|---|---|
М14х1,25.6gх85 | М14х1,25.6gх85 | Болт | |
77.60.229 | 77.60.229 | Серьга | |
77.60.042 | 77.60.042 | Стяжка | |
77.60.109 | 77.60.109 | Траверса верхней тяги | |
77.60.023А | 77.60.023А | Тяга верхняя в сборе | |
77.60.061 | 77.60.061 | Чека | |
14.65Г | 14.65Г | Шайба | |
77.60.147 | 77.60.147 | Шайба упорная | |
77.60.150-2 | 77.60.150-2 | Шайба упорная | |
3.2х25 | 3.2х25 | Шплинт | |
8х50 | 8х50 | Шплинт | |
6.3х50 | 6.3х50 | Шплинт | |
77.60.158 | 77.60.158 | Палец верхней тяги | |
77.60.165 | 77.60.165 | Палец серьги раскоса | |
77.60.169 | 77.60.169 | Шайба | |
М16.6gх60 | М16.6gх60 | Болт | |
77.60.161 | 77.60.161 | Втулка малая | |
77.60.227 | 77.60.227 | Вилка | |
77.60.102-2 | 77.60.102-2 | Рычаг подъемный правый | |
77.60.101 | 77.60.101 | Рычаг подъемный левый | |
77.60.103 | 77.60.103 | Рычаг штока | |
М6.6gх60 | М6.6gх60 | Болт | |
77.60.043 | 77.60.043 | Заказать | Вал |
77.60.024А | 77.60.024А | Вилка в сборе | |
77.60.026А | 77.60.026А | Вилка с пружинами | |
77.60.111 | 77.60.111 | Винт установочный | |
77.60.139-1 | 77.60.139-1 | Винт | |
2М14х1,5.6Н | 2М14х1,5.6Н | Гайка | |
77.60.025 | 77.60.025 | Головка в сборе | |
77.60.055 | 77.60.055 | Головка | |
77.60.112 | 77.60.112 | Кольцо упорное | |
1.3 | 1.3 | Масленка | |
77.60.144 | 77.60.144 | Муфта | |
77.60.105 | 77.60.105 | Ось верхняя | |
77.60.146 | 77.60.146 | Палец | |
77.60.044 | 77.60.044 | Подъемник | |
77.60.142 | 77.60.142 | Пружина большая | |
77.60.143 | 77.60.143 | Пружина малая | |
77.60.226 | 77.60.226 | Муфта |
Содержащиеся в справочниках-каталогах запасные части и детали не предлагаются к продаже, а носят исключительно информационный характер