Каталог запасных частей к технике: ВгТЗ ДТ-75В, ДТ-75БВ, ДТ75Н. Установка вентиляционная

1
4
5
7
9
10
11
16
17
18
19
20
21
22
23
25
26
27
28
28
28
28
29
29
30
31
32
33
34
35
36
37
38
39
40
41
42
43
44
45
46
47
48
49
50
51
51
52
54
55
57
58
59
60
61
62
Позиция на иллюстрации | Заводской номер детали | Название детали | |
---|---|---|---|
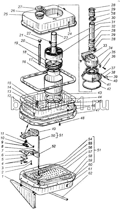
88.57.002-2 | 88.57.002-2 | Установка вентиляционная | |
М4.6gх12.58.016 | М4.6gх12.58.016 | Винт ГОСТ 17473-72 | |
М4.6.016 | М4.6.016 | Гайка ГОСТ 5927-70 | |
М12х1,25.8.016 | М12х1,25.8.016 | Гайка ГОСТ5916-70 | |
6.65Г | 6.65Г | Шайба ГОСТ 6402-70 | |
Шпонка сегментная 6х30 ГОСТ 8795-70 | Шпонка сегментная 6х30 ГОСТ 8795-70 | Шпонка сегментная 6х30 ГОСТ 8795-70 | |
88.57.446-1 | 88.57.446-1 | Прокладка | |
78.57.041 | 78.57.041 | Воздухоочиститель | |
1 | 88.57.022 | Кронштейн | |
4 | 88.57.451 | Планка | |
5 | 88.57.450-1 | Пластина | |
7 | 78.57.449-2 | Коромысло | |
9 | 88.57.458 | Шайба | |
10 | 88.57.448-1 | Клапан | |
11 | 88.57.447-2 | Штуцер | |
16 | 88.57.442-1 | Прокладка | |
17 | 78.57.043 | Воздуховод | |
18 | 88.57.485 | Кольцо | |
19 | 88.57.471 | Прокладка | |
20 | 88.57.445 | Трубка | |
21 | 78.57.060 | Маховичок | |
22 | ХСВ-73 | Хомутик стяжной винтовой, ХСВ-73 | |
23 | 78.57.206 | Труба | |
25 | 88.57.058 | Половина бака | |
26 | 88.57.475 | Прокладка | |
27 | 88.57.063-1 | Крышка | |
28 | ХСВ-80 | Хомут стяжный | |
29 | 78.57.208 | Манжета | |
30 | 88.57.440-1 | Труба | |
31 | 88.57.472-2 | Кольцо | |
32 | 88.57.085 | Кассета | |
33 | 77.48.159-А | Гайка-барашек | |
34 | 88.57.067-1 | Патрубок | |
35 | 88.57.464 | Скоба | |
36 | 88.57.310 | Фиксатор | |
37 | 88.57.435-1 | Защелка | |
38 | 88.57.436-2 | Пружина | |
39 | Шплинт 1,6х12 ГОСТ 397-79 | Шплинт 1,6х12 ГОСТ 397-79 | |
40 | 22.6Х5х30 | Ось ГОСТ 9650-71 | |
41 | 88.57.065-1 | Кожух | |
42 | 78 57.205 | Кольцо | |
43 | 88.57.084 | Корпус | |
44 | 88.57.459-1 | Прокладка | |
45 | 88.57.056 | Половина бака | |
46 | М8.6.016 | Гайка ГОСТ 5915-70 | |
47 | 88.57.441-1 | Прокладка | |
48 | М8.6gх20.88.35.016 | Болт ГОСТ 7796-70 | |
49 | 88.57.423-1 | Кронштейн | |
50 | 88.57.416-1 | Стержень | |
51 | 88.57.055-1 | Стержень с решеткой | |
52 | 88.57.070-1 | Поплавок | |
54 | Шплинт 2,5х25 ГОСТ 397-79 | Шплинт 2,5х25 ГОСТ 397-79 | |
55 | 12.01 | Шайба ГОСТ 11371-68 | |
57 | 88.57.060 | Решетка | |
58 | К77.57.245-1 | Пробка | |
59 | К77.57.320 | Гайка пробки | |
60 | 88.57.023 | Поддон | |
61 | М6.6gх14.88.35.016 | Болт ГОСТ 1798-70 | |
62 | 88.57.110-2 | Шланг сливной |
Содержащиеся в справочниках-каталогах запасные части и детали не предлагаются к продаже, а носят исключительно информационный характер