Каталог запасных частей к технике: Wirax Копатель картофеля. Комплект лемехов

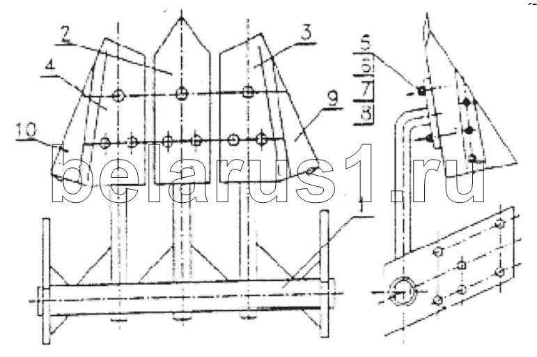
1
2
3
4
5
6
7
8
9
10
Позиция на иллюстрации | Заводской номер детали | Название детали | |
---|---|---|---|
1 | ZK2-4/1 | Кронштейн лемехов | |
2 | ZK2-4/5 | Лемех средний | |
3 | ZK2-4/6а | Лемех правый | |
4 | ZK2-4/6 | Лемех левый | |
5 | PN78/M-82005 | Шайба | |
6 | PN86/M-82144 | Гайка | |
7 | PN87/M-82402 | Болт | |
8 | PN77/M-82005 | Шайба пружинная | |
9 | ZK2-4/7 | Скребок правый | |
10 | ZK2-4/7а | Скребок левый |
Содержащиеся в справочниках-каталогах запасные части и детали не предлагаются к продаже, а носят исключительно информационный характер