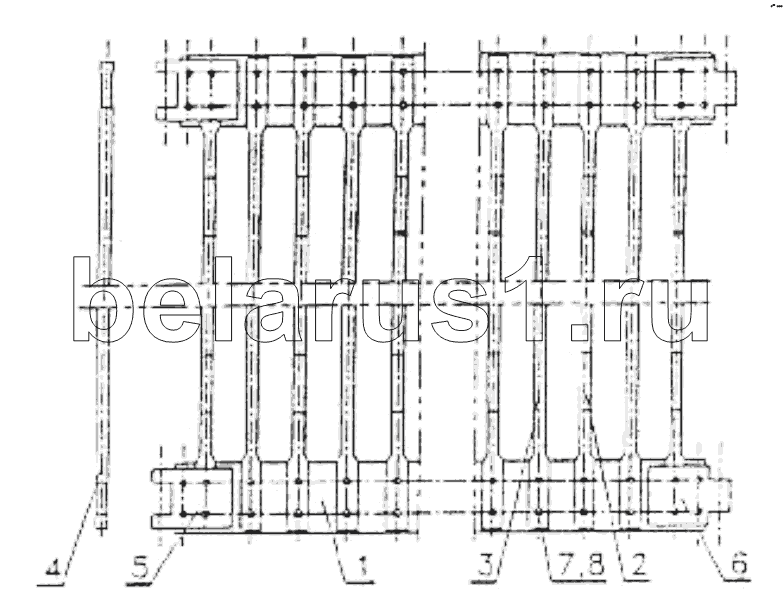
Каталог запасных частей к технике: Wirax Копатель картофеля. Транспортерный элеватор

1
2
3
4
5
6
7
8
Позиция на иллюстрации | Заводской номер детали | Название детали | |
---|---|---|---|
1 | ZK2-5/1 | Лента тканевая прорезиненная | |
2 | ZK2-5/2 | Пруток изогнутый | |
3 | ZK2-5/3 | Пруток прямой | |
4 | ZK2-5/4 | Пруток соединительный | |
5 | ZK2-5/5 | Шарнир соединяющий наружный | |
6 | ZK2-5/6 | Шарнир соединяющий внутренний | |
7 | ZK2-5/7 | Шайба | |
8 | PN88/М-82954 | Заклепка |
Содержащиеся в справочниках-каталогах запасные части и детали не предлагаются к продаже, а носят исключительно информационный характер