Каталог запасных частей к технике: Wirax Z069. Главная рама

8245-036-020-287
1
2
3
4
5
6
7
8
9
10
11
11
11
12
13
14
15
16
17
18
19
20
21
22
23
24
25
26
27
28
29
30
31
32
33
34
35
36
37
38
39
40
41
41
42
43
44
45
46
47
47
48
48
49
50
51
52
53
54
55
56
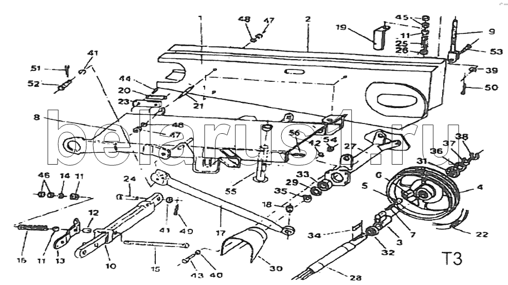
Позиция на иллюстрации | Заводской номер детали | Название детали | |
---|---|---|---|
8245-036-020-287 | 8245-036-020-287 | Предохранитель, комплект | |
1 | 8245-105-020-060 | Правый кожух | |
2 | 8245-105-020-072 | Левый кожух | |
3 | 8245-105-020-172 | Заказать Заказать | Кованый валик |
4 | 8245-105-020-185 | Заказать | Ремённый шкив |
5 | 8245-105-020-198 | Болт бруса | |
6 | 8245-105-020-205 | Втулка | |
7 | 8245-105-020-218 | Пружина валика | |
8 | 8245-105-020-233 | Заказать | Центральный брус, сварной |
9 | 8245-036-020-246 | Пруток натяжника, компл., сварной | |
10 | 8245-036-020-290 | Заказать | Замок сварной |
11 | 8245-036-020-307 | Седло пружины | |
12 | 8245-036-020-310 | Дистанционная втулка | |
13 | 8245-036-020-322 | Заказать | Защёлка |
14 | 8245-036-020-335 | Подкладка | |
15 | 8245-036-020-348 | Винт М14х260 | |
16 | 8245-036-020-350 | Пружина предохранителя | |
17 | 8245-036-020-363 | Транспортная балка, компл. | |
18 | 8245-036-020-376 | Втулка | |
19 | 8245-036-020-409 | Угольник | |
20 | 8245-036-020-411 | Двойная отгибающаяся подкладка | |
21 | 8245-036-020-017 | Двусторонний винт | |
22 | PN-86/M-85200/06 | Комплект клиновых ремней | |
23 | 8245-036-020-465 | Накладка | |
24 | PN-90/M-83002 | Штырь | |
25 | 8245-036-020-500 | Заказать | Пружина натяжника |
26 | 8245-036-020-513 | Подкладка | |
27 | 8245-036-020-684 | Заказать | Труба приводной головки, компл. |
28 | 8245-036-020-602 | Заказать Заказать | Вал головки |
29 | PN-72/M-86964 | Уплотняющее кольцо | |
30 | 8245-036-020-717 | Кожух, комплект | |
31 | PN-85/M-86100 | Шарикоподшипник | |
32 | PN-85/M-86100 | Шарикоподшипник | |
33 | PN-85/M-86100 | Шарикоподшипник | |
34 | PN-70/M-85005 | Заказать | Призматический шпунт |
35 | PN-81/M-85111 | Стопорное пружинящее кольцо | |
36 | PN-81/M-85111 | Стопорное пружинящее кольцо | |
37 | PN-81/M-85111 | Стопорное пружинящее кольцо | |
38 | PN-81/M-85111 | Стопорное пружинящее кольцо | |
39 | PN-78/M-82006 | Шайба | |
40 | PN-78/M-82005 | Круглая шайба | |
41 | PN-78/M-82005 | Шайба | |
42 | PN-77/M-82008 | Пружинная шайба | |
43 | PN-85/M-82105 | Винт | |
44 | PN-85/M-82105 | Винт | |
45 | PN-86/M-82144 | Гайка | |
46 | PN-86/M-82144 | Гайка | |
47 | PN-86/M-82144 | Гайка | |
48 | PN-77/M-82008 | Пружинная шайба | |
49 | PN-89/M-85025 | Пружинный штифт | |
50 | PN-76/M-82001 | Чека | |
51 | PN-76/M-82001 | Чека | |
52 | PN-90/M-83002 | Штырь | |
53 | PN-90/M-83002 | Штырь | |
54 | PN-86/M-82144 | Гайка | |
55 | 8245-036-020-760 | Подпорка | |
56 | PN-ISO-7072 | Чека |
Содержащиеся в справочниках-каталогах запасные части и детали не предлагаются к продаже, а носят исключительно информационный характер