Каталог запасных частей к технике: Гомсельмаш КПР-6. Редуктор (КПР6203050)

1
2
3
3
4
4
5
5
6
6
7
8
9
10
11
12
12
12
12
13
13
13
13
14
14
14
14
15
15
15
15
16
17
18
19
20
20
21
21
21
22
22
23
23
23
23
24
24
25
25
26
26
26
26
27
28
29
30
31
32
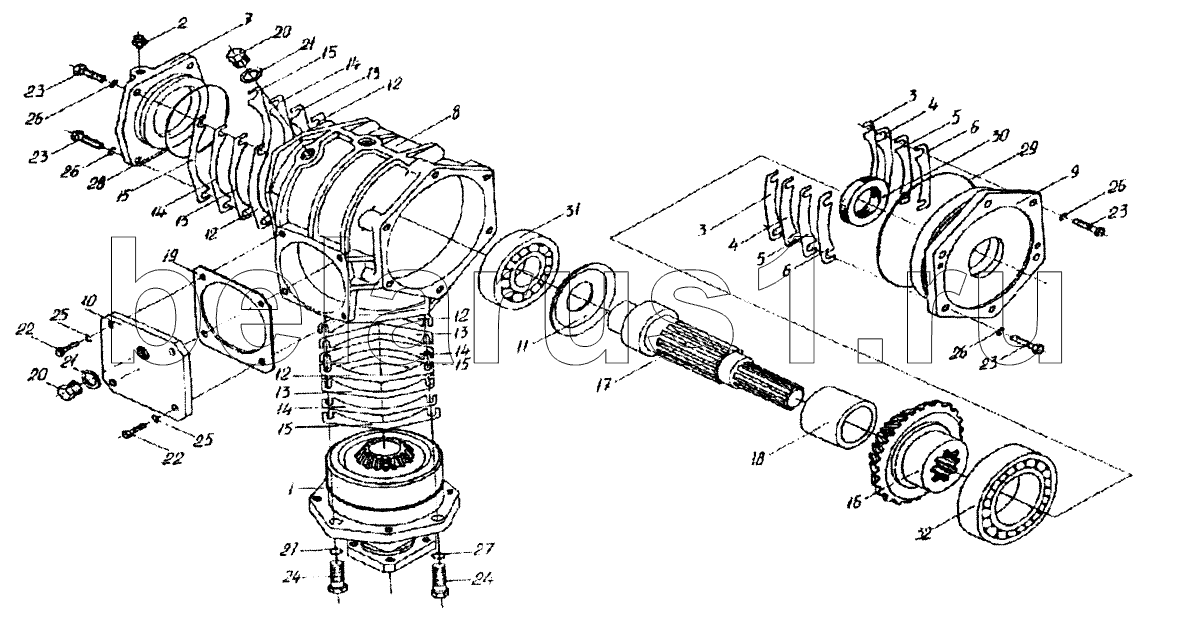
Позиция на иллюстрации | Заводской номер детали | Название детали | |
---|---|---|---|
КПР6203020 | КПР6203020 | Стакан | |
КПР6203090 | КПР6203090 | Крышка | |
1 | КПР6203060 | Стакан | |
2 | 34-4-1-17А | Сапун | |
3 | КПР6103501 | Прокладка регулировочная | |
4 | КПР6103501-01 | Прокладка регулировочная | |
5 | КПР6103501-02 | Прокладка регулировочная | |
6 | КПР6103501-03 | Прокладка регулировочная | |
7 | КПР6203104 | Крышка | |
8 | КПР6203201 | Корпус | |
9 | КПР6203202 | Стакан | |
10 | КПР6203401 | Крышка | |
11 | КПР6203402 | Маслоотражатель | |
12 | КПР6203501 | Прокладка регулировочная | |
13 | КПР6203501-01 | Прокладка регулировочная | |
14 | КПР6203501-02 | Прокладка регулировочная | |
15 | КПР6203501-03 | Прокладка регулировочная | |
16 | КПР6203602 | Шестерня | |
17 | КПР6203611 | Вал | |
18 | КПР6203801 | Втулка | |
19 | КИС0114014 | Прокладка | |
20 | КУЖ0110615 | Пробка | |
21 | РФ0000002 | Прокладка | |
22 | [Болт М8-6gх20-7796] | Болт М8-6gх20-7796 | |
23 | [Болт М10-6gх30-7796] | Болт М10-6gх30-7796 | |
24 | [Болт М12-6пх40-7796] | Болт М12-6пх40-7796 | |
25 | [Шайба 8.65Г-6402] | Шайба 8.65Г-6402 | |
26 | [Шайба 10.65Г-6402] | Шайба 10.65Г-6402 | |
27 | [Шайба 12.65Г-6402] | Шайба 12.65Г-6402 | |
28 | [Кольцо 094-100-36-2-2-18829/9833] | Кольцо 094-100-36-2-2-18829/9833 | |
29 | [Кольцо 140-150-46-2-2-18829/9833] | Кольцо 140-150-46-2-2-18829/9833 | |
30 | [Манжета 2.2-38х58-1-8752] | Манжета 2.2-38х58-1-8752 | |
31 | [Подшипник 7309А-27365] | Подшипник 7309А-27365 | |
32 | [Подшипник 7514] | Подшипник 7514 |
Содержащиеся в справочниках-каталогах запасные части и детали не предлагаются к продаже, а носят исключительно информационный характер