Каталог запасных частей к технике: Lemken Solitair 9/400. Dosage 4-A C

1
2
3
4
5
6
7
8
9
10
11
12
13
14
15
16
17
18
19
20
21
22
23
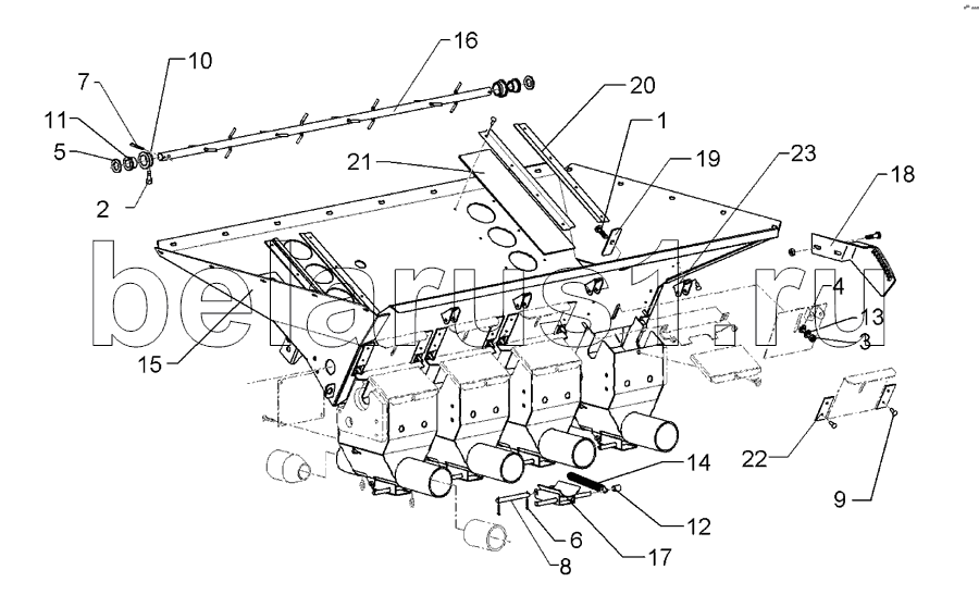
Позиция на иллюстрации | Заводской номер детали | Название детали | |
---|---|---|---|
1 | 301 1123 | Bolt, cup square head | |
2 | 301 5854 | Allen screw | |
3 | 303 0932 | Selflocking nut | |
4 | 305 6124 | Washer | |
5 | 305 6143 | Washer | |
6 | 311 7602 | Peg | |
7 | 311 7615 | Peg | |
8 | 313 0802 | Pin | |
9 | 315 9608 | Rivet | |
10 | 317 7641 | Bearing housing | |
11 | 317 7642 | Bush | |
12 | 323 6510 | Plastic cap | |
13 | 329 6127 | Tellerfeder | |
14 | 329 8553 | Spring | |
15 | 482 5758 | Dosage | |
16 | 482 5830 | Agitator shaft | |
17 | 482 5840 | Soil flap | |
18 | 482 5846 | Fixing device | |
19 | 482 5849 | Cover plate | |
20 | 482 5857 | Cutting bar | |
21 | 482 5858 | Viewing glass | |
22 | 482 5907 | Plate | |
23 | 482 5908 | U-lashing |
Содержащиеся в справочниках-каталогах запасные части и детали не предлагаются к продаже, а носят исключительно информационный характер