Каталог запасных частей к технике: Lemken Solitair 9/400. Support Solitair
 
              
          1        
              
          2        
              
          2        
              
          2        
              
          2        
              
          3        
              
          3        
              
          3        
              
          4        
              
          4        
              
          4        
              
          4        
              
          4        
              
          4        
              
          4        
              
          4        
              
          5        
              
          5        
              
          5        
              
          5        
              
          6        
              
          6        
              
          6        
              
          6        
              
          6        
              
          6        
              
          6        
              
          6        
              
          7        
              
          7        
              
          7        
              
          7        
              
          7        
              
          7        
              
          7        
              
          8        
              
          9        
              
          10        
              
          10        
              
          11        
              
          11        
              
          12        
              
          13        
              
          13        
              
          14        
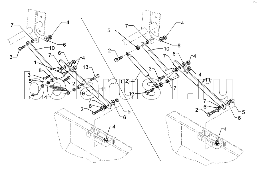
          | Позиция на иллюстрации | Заводской номер детали | Название детали | |
|---|---|---|---|
| 1 | 301 3055 | Screw | |
| 2 | 301 3068 | Screw | |
| 3 | 301 7280 | Screw | |
| 4 | 303 0932 | Selflocking nut | |
| 5 | 303 1011 | Nut | |
| 6 | 305 6974 | Washer | |
| 7 | 317 7650 | Distance tube | |
| 8 | 317 9475 | Bush | |
| 9 | 317 9476 | Bush | |
| 10 | 482 5586 | Support | |
| 11 | 482 5587 | Support | |
| 12 | 575 2641 | Gas compression spring | |
| 13 | 301 3070 | Bolt | |
| 14 | 329 8548 | Spring | 
Содержащиеся в справочниках-каталогах запасные части и детали не предлагаются к продаже, а носят исключительно информационный характер