Каталог запасных частей к технике: МТЗ-1523.4. Баки топливные

1
2
2
3
3
3
4
4
4
4
4
4
5
5
6
7
8
9
10
11
12
13
14
15
16
19
20
21
22
23
24
25
26
27
27
28
28
29
30
31
31
32
33
34
35
36
37
38
39
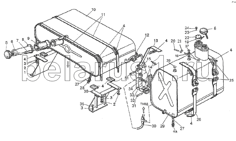
Позиция на иллюстрации | Заводской номер детали | Название детали | |
---|---|---|---|
1 | 1522-1101080 | Кронштейн | |
2 | М10 | Гайка | |
3 | 10 ОТ | Шайба | |
4 | ПР-43-02 | Прокладка | |
5 | 082-1103010 | Заказать Заказать Заказать Заказать | Пробка |
6 | 1522-1101060 | Горловина | |
7 | 85-1101002 | Трубка | |
8 | ХС-61 | Хомут | |
9 | 70-1101035-Б-01 | Рукав | |
10 | 1522-1101010 | Заказать | Бак |
11 | 1522-1101090 | Хомут | |
12 | ПП6-1 | Заказать | Кран |
13 | 1522-1101140-01 | Заказать | Лента |
14 | 1522-1101118 | Прокладка | |
15 | 3,2x18 | Шплинт | |
16 | 3022-1101113 | Штуцер | |
19 | 1522-3806026 | Прокладка | |
20 | 3022-1101002-01 | Топливопровод | |
21 | 16-27 | Хомут | |
22 | ДОТ.6804-02 | Датчик объема топлива | |
23 | 80-1101067 | Шайба | |
24 | ВМ5х35 | Винт | |
25 | 1522-1101005 | Болт | |
26 | 1522-1101140 | Заказать | Лента |
27 | 11,112-100 | Шарик | |
28 | 822-1101081 | Заказать | Штуцер |
29 | 1522-1101210 | Заказать | Бак |
30 | 920П-1101210-02 | Заказать | Топливопровод |
31 | 1522-1101125 | Палец | |
32 | 1522-1101130 | Кронштейн | |
33 | М16х50 | Болт | |
34 | 16 ОТ | Шайба | |
35 | М10х25 | Болт | |
36 | 1522-1101070 | Кронштейн | |
37 | Д18-051 | Болт | |
38 | РМ14 | Шайба | |
39 | КГ 1 /8 | Пробка |
Содержащиеся в справочниках-каталогах запасные части и детали не предлагаются к продаже, а носят исключительно информационный характер