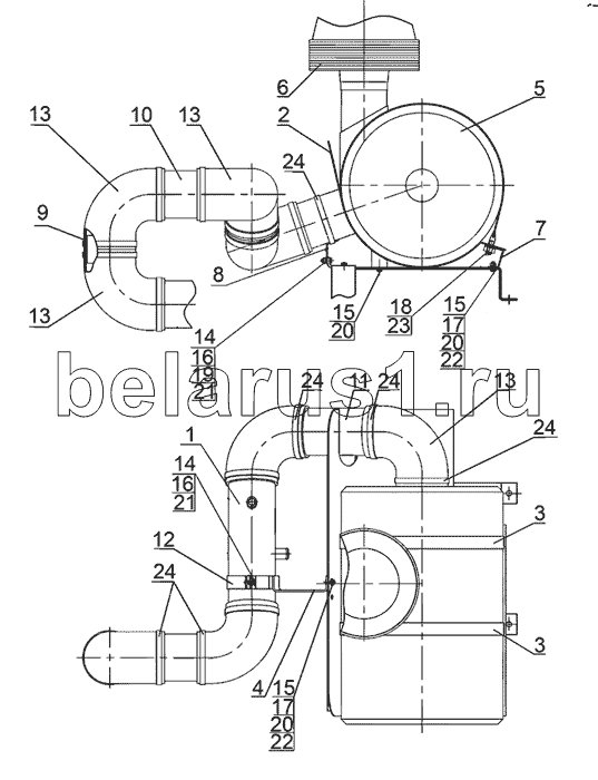
Каталог запасных частей к технике: МТЗ-1523.4. Установка воздухоочистителя

1523.4-1109125
1
2
3
3
4
5
6
7
8
9
10
11
12
13
13
13
13
14
14
15
15
15
16
16
17
17
18
19
20
20
20
21
21
22
22
23
24
24
24
24
24
Позиция на иллюстрации | Заводской номер детали | Название детали | |
---|---|---|---|
1523.4-1109125 | 1523.4-1109125 | Установка воздухоочистителя | |
1 | 1523.4-1109025 | Воздухопровод | |
2 | 1523.4-1109110 | Опора | |
3 | 1522-1109025 | Хомут | |
4 | 1121В-1109010 | Кронштейн | |
5 | 260-1109015-02 | Воздухоочиститель | |
6 | А53.21.000-02 | Моноциклон | |
7 | 1523.4-1109022 | Кронштейн | |
8 | 1523.4-1109023 | Кронштейн | |
9 | 1523.4-1109024 | Труба | |
10 | 1523.4-1109024-01 | Труба | |
11 | 1523.4-1109024-02 | Труба | |
12 | 1221 В-1109008 | Скоба | |
13 | 260-1109009-А | Заказать Заказать | Патрубок |
14 | M6-6gx20.88.35.019 | Болт | |
15 | M8-6gx20.88.35.019 | Болт | |
16 | М6-6Н.6.019 | Гайка | |
17 | М8-6Н.6.019 | Гайка | |
18 | М10-6Н.6.019 | Гайка | |
19 | С6.01.019 | Шайба | |
20 | С8.01.019 | Шайба | |
21 | 6Т | Шайба | |
22 | 8Т | Шайба | |
23 | 10 ОТ | Шайба | |
24 | TORRO90-110/9-C6W | Хомут |
Содержащиеся в справочниках-каталогах запасные части и детали не предлагаются к продаже, а носят исключительно информационный характер